





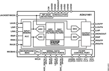
的SigmaDSP立体声,低功耗, 96 kHz的24位音频编解码器集成PLL SigmaDSP Stereo, Low Power, 96 kHz, 24-Bit Audio Codec with Integrated PLL
音频 接口 24 b I²C,SPI 32-LFCSP-VQ(5x5)
得捷:
IC SIGMADSP 24BIT 96KHZ PLL 32
贸泽:
接口—CODEC Auto Lo Pwr 96kHz 24B w/ Intg PLL
艾睿:
DSP Fixed-Point 28bit/56bit 27MHz 50MIPS Automotive 32-Pin LFCSP EP T/R
Chip1Stop:
DSP Fixed-Point 28-Bit/56-Bit 27MHz 50MIPS 32-Pin LFCSP EP T/R




| 型号/品牌 | 代替类型 | 替代型号对比 |
|---|---|---|
ADAU1461WBCPZ-R7 ADI 亚德诺 | 当前型号 | 当前型号 |
ADAU1461WBCPZ 亚德诺 | 功能相似 | ADAU1461WBCPZ-R7和ADAU1461WBCPZ的区别 |