












STMICROELECTRONICS L6207PD 芯片, 电机驱动器, 双路, DMOS, 5.6A, 36PWRSO
有刷直流电动机驱动器,STMicroelectronics
得捷:
IC MOTOR DRIVER PAR 36POWERSO
欧时:
### 有刷直流电动机驱动器,STMicroelectronics### 电动机控制器和驱动器,STMicroelectronics
立创商城:
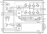
L6207PD
贸泽:
马达/运动/点火控制器和驱动器 Dual Full Bridge
艾睿:
Full Bridge Motor Driver 48V 36-Pin PowerSO Tube
安富利:
DMOS Full Bridge PWM Motor Driver 48V 36-Pin PowerSO Tube
Chip1Stop:
Full Bridge Motor Driver 48V 36-Pin PowerSO Tube
TME:
Driver; motor controller; 2.8A; Channels:2; 100kHz; PowerSO36
Verical:
Full Bridge Motor Driver 48V 36-Pin PowerSO Tube
Newark:
# STMICROELECTRONICS L6207PD MOTOR DRIVER, DUAL, DMOS, 5.6A, 36PWRSO
儒卓力:
**2xH-Br 2.8A 52V PowerSO-36 SMD **
DeviceMart:
5.6A구동 가능한 모터구동드라이버, 5 ~ 52V까지가능한 공급전압. 듀얼DC모터드라이버, 유니폴라 모터드라이버구동이 가능합니다.
Win Source:
IC MOTOR DRIVER PAR 36POWERSO
频率 100 kHz
电源电压DC 52.0V max
输出接口数 2
输出电压 52 V
输出电流 2.8 A
供电电流 2.8 A
通道数 2
针脚数 36
上升时间 250 ns
下降时间 250 ns
工作温度Max 150 ℃
工作温度Min -40 ℃
电源电压 8V ~ 52V
电源电压Max 52 V
电源电压Min 8 V
安装方式 Surface Mount
引脚数 36
封装 PowerSO-36
长度 16 mm
宽度 11.1 mm
高度 3.3 mm
封装 PowerSO-36
工作温度 -25℃ ~ 125℃ TJ
产品生命周期 Active
包装方式 Tube
制造应用 电机驱动与控制, DC 电机,步进电机,稳压器, Motor Drive & Control
RoHS标准 RoHS Compliant
含铅标准 Lead Free
REACH SVHC标准 No SVHC
REACH SVHC版本 2015/12/17
ECCN代码 EAR99




| 型号/品牌 | 代替类型 | 替代型号对比 |
|---|---|---|
L6207PD ST Microelectronics 意法半导体 | 当前型号 | 当前型号 |
L6207PD013TR 意法半导体 | 完全替代 | L6207PD和L6207PD013TR的区别 |