














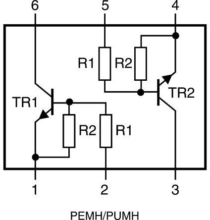
NXP PUMH9,115 双极晶体管阵列, NPN, 50 V, 200 mW, 100 mA, 100 hFE, SOT-363
The is a dual NPN Resistor Equipped Transistor Array in a surface-mount plastic package. This bipolar device is suitable for low current peripheral driver, control of IC inputs and replaces general-purpose transistors in digital applications.
针脚数 6
极性 NPN
耗散功率 200 mW
击穿电压集电极-发射极 50 V
集电极最大允许电流 100mA
最小电流放大倍数hFE 100 @5mA, 5V
额定功率Max 300 mW
直流电流增益hFE 100
工作温度Max 150 ℃
工作温度Min -65 ℃
耗散功率Max 300 mW
安装方式 Surface Mount
引脚数 6
封装 SOT-363-6
长度 2.2 mm
宽度 1.35 mm
高度 1 mm
封装 SOT-363-6
产品生命周期 Active
包装方式 Tape & Reel TR
制造应用 Computers & Computer Peripherals, Automation & Process Control, Power Management, Automotive, Industrial
RoHS标准 RoHS Compliant
含铅标准 Lead Free
REACH SVHC标准 No SVHC
REACH SVHC版本 2015/12/17
| 型号/品牌 | 代替类型 | 替代型号对比 |
|---|---|---|
PUMH9,115 NXP 恩智浦 | 当前型号 | 当前型号 |
PUMH9 恩智浦 | 完全替代 | PUMH9,115和PUMH9的区别 |
PUMH9,135 恩智浦 | 类似代替 | PUMH9,115和PUMH9,135的区别 |
PUMH9,165 恩智浦 | 类似代替 | PUMH9,115和PUMH9,165的区别 |